渔利双跌,财富质料及股权存忧,华兴银行难题何解?
开首:每财网
华兴银行营收连降三年,净利说合两年倒退。
文/逐日财报 张恒
近日,华兴银行在官网精良对外皮露了2024年财报,激励业表里高度留情,只不外,这份“答卷”的质料与效益成色并欠安,不错用合手续承压来简而概之。
事实上,从华兴银行筹备所在的区域特征来看,该行区位上风邃密,筹备网点及业务开展范围阴私广东省内多个地市,而广东省经济概括竞争力、金融实力均居于世界跨越地位,粤港澳大湾区的拓荒亦为广东省经济发展带来更大后劲,广东省邃密的区位及政策上风为华兴银行提供了较为广泛的业务发展空间。逼迫2024年末,华兴银行财富总数超4600亿元,共设有58家贸易机构,包括11家一级分行以及47家谱行,在赈济地方经济发展、感触金融安逸等方面成为一支引东说念主庄重的力量。
但同期,如今华兴银行也不得不面对诸多挑战,首当其冲的即是盈利才调有待普及的难题,其次则是财富质料需进一步优化。
功绩难露喜色:
营收连降三年,净利说合两年倒退
连年来,受贷款市集报价利率(LPR)下调处市集利率举座走低影响,加之收益率较高的非标投资范围下跌,华兴银行繁殖财富收益率有所下跌;另一方面,华兴银行合手续推动进款结构优化调理,分阶段压降高本钱进款付息率,但由于欠债端个东说念主进款的较快增长,按期进款占比普及,加之存量对公高息进款压降仍需一定时代,导致其净息差合手续收窄,利息净收入有所下跌。
财报数据清晰,2024年华兴银行存贷利差合手续收窄,净息差进一步降至1.33%;全年竣事净利息收入53.62亿元,同比减少8.22%,占比总贸易收入的64.08%。
非利息收入方面,受线路业务范围下跌影响,该行线路联系中间业务收入有所下滑,2024年竣事手续费及佣金净收入3.09 亿元,同比大幅下滑41.48%,占当期贸易收入的3.70%。
此外,连年来受债券市集波动、投资组合结构调理及投资范围增长等身分的概括影响,华兴银行投资收益及公允价值变动损益共计范围呈现稳步增长态势。2024年华兴银行竣事投资收益26.42亿元,同比增长29.57%,占贸易收入的31.57%,占比有所回升;交往性金融财富公允价值变动收益达0.14亿元,较2023年的-0.32亿元有所大幅改善普及。
在以上身分综调解用下,2024年华兴银行竣事贸易收入83.67亿元,同比小幅减少0.5%,这已是其营收说合三年下滑了,2022年营收增速为-2.4%,到2023年则进一步滑落至-5.51%。

筹备后果方面,华兴银行贸易开销主要为业务及照应费和信用减值亏欠两大块。
先来看用度端,据悉,连年来华兴银行推动全行范围内的降本增效职责,严格刚性落实降本增效决议,逐月开展用度监控,一一神情进行管控,一一科目进行对比,最大逼迫挖掘开销端的降本后劲,在业务合手续膨胀及数字化普及的刚性开销下,其业务照应费及本钱收入比有所压降。
数据清晰,2024年华兴银行本钱收入比已从2023年末的34.9%降至了32.82%,降幅2.08个百分点;业务及照应费为27.46亿元,同比减少了6.44%。
再来看拨备计提端,连年来面对经济周期篡改和表里部经济边幅变化,为增强风险抵拒才调,华兴银行合手续加大贷款拨备计提和不良财富处罚力度,贷款减值计提范围逐年增长,举座信用减值亏欠范围有所波动,主要系受债权投资颠倒他财富减值损左计提范围波动影响。
逼迫2024年末,华兴银行信用减值亏欠范围达30.62亿元,同比增长21.7%。其中,计提贷款减值亏欠25.54亿元;计提债权投资颠倒他债权投资减值亏欠共计5.77亿元;计提其他财富减值亏欠-0.69亿元。
综上,2024年华兴银行竣事净利润28.52亿元,同比减少5.56%,已经说合两年下滑,2023年净利增速为-8.82%。同期,其平均财富酬谢率和加权平均净财富酬谢率同比分裂下跌0.08和2.2个百分点至0.63%和10.19%,盈利水平有所下跌。

对此,联合股信在对华兴银行出具的评级呈文中指出,连年来跟着净息差合手续收窄,华兴银行贸易收入及净利润范围举座有所下跌,各项盈利见解均有所下滑,盈利才调有所下跌,但仍处于较好水平。琢磨到现时宏不雅环境下,净息差收窄趋势或仍延续,加之较大的减值计提压力,或将使其盈利增长无间承压,改日净息差及减值计提对其盈利水平的影响需赐与重心留情。
举座不良有所改善,
房地产业贷款质料承压
信贷财富质料方面,财报数据清晰,逼迫2024年末,华兴银行不良贷款余额为37.49亿元,较上年末仅微增1.82亿元;不良贷款率1.53%,同比下跌0.04个百分点,全年财富质料总体可控,不良贷款率略有下跌。
但值得看管的是,连年来宏不雅经济增速放缓、宏不雅调控等多重身分重迭对实体经济形成冲击,实体企业筹备情况承压,偿债才调下跌,亦使得华兴银行面对的信用风险管控压力有所加大,其中留情类贷款及落后贷款范围均有所加多。
逼迫2024年末,华兴银行的留情类贷款余额为83.56亿元,较年头加多16.16亿元,贷款留情率为3.4%,较年头高涨44bps;同期落后贷款范围达55.08亿元,同比增长27%;落后贷款率升至2.24%,较上年末增长34bps。

此外,受缓期政策调理、小微企业及个东说念主客户自主还原才调较弱等身分影响,华兴银行个东说念主贷款面对的信用风险合手续加大,2024年末个东说念主不良贷款占不良贷款总数的16.39%,个东说念主贷款不良贷款率虽较年头下跌23bps至2.07%,但依然处于较高水平。
要知说念,该不良率其实是竖立在该行个贷范围合手续放松布景下所竣事的,咱们发现自2023年运转,华兴银行的个贷范围便一说念走低,逼迫2024年末,该行的个东说念主贷款余额为297.28亿元,较年头缩水0.56%。
对公贷款方面,华兴银行针对顺应金融帮扶政策条目的授信客户,通过办理合理的延期贷款等形状缓解其资金盘活压力。逼迫2024年末,华兴银行延期贷款大部分为正常类贷款,其中留情类及不良贷款类共计占比为17.93%。
而在这些延期贷款中尤其值得警惕的是房地产贷款业务,凭据联合股信评级呈文,逼迫2024年末,华兴银行房地产延期贷款在全部延期贷款中的占比高达66.94%,不良率却只消1.15%,还莫得举座不良率高,财富质料似乎保合手邃密。然则,同期期其房地产业贷款还有6.48%的留情类占比,浅易计较可知,2024年该行房地产留情类贷款余额达到了22.85亿元,在所计议注类贷款中占比高达27.35%,后续应进一步留情该行房地产延期贷款的回收处罚情况。
从贷款拨备情况来看,为玩忽信用风险下行压力,增强风险抵补才调,华兴银行加大拨备计提力度及不良贷款清收力度,拨备阴私率、拨贷比均较上年有所普及,信用风险安全垫有所增厚。数据清晰,逼迫2024年末,华兴银行拨备阴私率达207.14%,同比增长25.8个百分点;拨贷比3.16%,较上年末普及0.32个百分点。
股权拍卖出质平淡,
折价转让不良债权
骨子上,华兴银行多年来一直勤奋于优化股权结构,合手续实施增资扩股的策略,并积极引进策略投资者。然则,这已经过中却平淡际遇了多样挑战和难题。
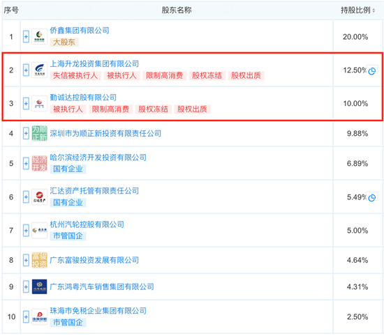
2024年年报透露的信息清晰,逼迫旧年末,第二大股东上海升龙投资合手有的10亿股华兴银行股份中,有50%已对外质押;第三大股东勤诚达控股合手有的8亿股股份,也有49%处于质押状态,被质押的股份占该行总股本的11.15%。
与此同期,这两家股东合手有的全部华兴银行股权均被冻结,上海升龙投资已经成为失信被扩充东说念主,近一年里有8条限高耗尽纪录;勤诚达控股近一年里也有4条被扩充东说念主纪录和1条限高耗尽纪录,筹备情状都不太乐不雅。

而无一例外,这两大股东将所质押冻结的股权齐拿到台面上进行拍卖。2024年7月份,上海升龙投资将合手有的华兴银行1.5亿股股权分拆5笔进行变卖,变卖价较评估价打了7.2折,但以流拍告终。值得一提的是,该笔股权此前已于2024年4月、2023年12月阅历过两轮拍卖,齐未能遂愿售出。
紧接着,在旧年10月底,江苏省无锡市中级东说念主民法院在阿里巴巴执法拍卖收集平台上公开拍卖勤诚达所合手华兴银行17580万股股份,评估价为5.68亿元,而起拍价则定为3.97亿元,第一轮以流拍告终,固然第二轮起拍价打了八折,但也因无东说念主竞拍而中止。
除了大股东,华兴银行的小股东对外拍卖和出质股权也在蠕蠕而动。比如旧年9月份,鑫通万宝合手有的华兴银行3500万股股权变卖,评估价为1亿元,起拍价为5625.2万元,因无东说念主出价而流拍。而在此之前,上述股权也已阅历过一拍、二拍折价出售而无东说念主接盘的逆境。
也就是说,连年来华兴银行股权屡次被股东们挂上拍卖平台,且先后阅历一拍、二拍、变卖,但最终均以流拍完了,可见其股权思要迎来新“白衣骑士”仍穷困重重。
而在股权出质方面,本年4月16日,华兴银行一天内新增三条股份被出质信息,其中,万事利集团先后两次出质8553万股、2447万股股权华兴银行股权给浦发银行杭州分行;广州金誉实业投资出质了900万股华兴银行股权。4月1日,金宝坊海外也出质1200万股华兴银行股权。这三家股东当今的筹备情状较为邃密,但平淡的股权出质光显会对华兴银行的股权结构安逸性产生不利影响。
值得看管的是,在股东拍卖和出质股权的同期,华兴银行还对不良财富债权进行打折出售,被外界指出是“断臂求生”。公开辛勤清晰,5月12日上昼10时,有15笔来自华兴银行的不良财富债权,将同期在阿里财富交往平台开启第二次拍卖。事实上,该行近期发布的债权转让信息还远不啻这些,鄙俚统计,当今该平台有近70笔行将运转及招商中的华兴银行债权转让信息,这些债权的债务东说念主多为个东说念主,也有部分企业借款东说念主,单笔债权的本息总数从几十万到1.939亿元不等,大多折价出售,典质物都是房产。
在这次透露的年报中,华兴银行也对2025年作念出了瞻望:本年将深入贯彻中央经济职责会议和中央金融职责会议精神,聚焦现时经济发展的变化,作念好金融“五篇大著作”,积极践行金融职责的政事性和东说念主民性,承袭“聚焦特质、强化才调、科技赋能、巩固转型”,鼓励“专精特新”杰作银行拓荒,合手续推动自己竣事高质料发展。
短短几句话,简略真切感知到华兴银行服求实体经济的执意站位,以及积极求变转型的遑急之心,接下来其能否在普及盈利才调、进一步改善财富质料和优化股权成色下竣事以上瞻望地点,值得咱们期待。

包袱剪辑:张文
上一篇:鞍钢股份:杀青2025年5月12日 鞍山钢铁累计增握A股运动股份约421.35万股 下一篇:张永伟:在外欧化发展方面,商用车和专用车更有竞争力